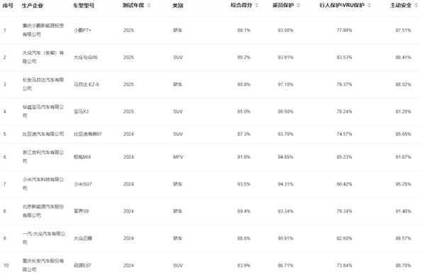
电脑知识网3月10日消息,中汽测评(C-NCAP)最新公布了尚界H5的测评成绩,其综合得房率高达93.8%,在整个测试过的车型中名列前茅,甚至比很多更贵的车都要强。
此次测试的车型为尚界H5纯电Max长续航版,官方指导售价19.98万,具体来看,尚界H5乘员保护得分率高达98.27%、VRU弱势群体保护得分率82.91%、主动安全得分率95.17%,并通过了电安全检测。
其中在实车碰撞、远端保护、鞭打测试、对车外行人腿部保护、车对行人自动刹车能力、对二轮车自动刹车能力、车辆照明效果等多个项目成绩均排在全部测试车型里前20%,表现着实优秀,考虑到其不到20万的售价,则能进一步加分。
尚界H5是华为和上汽合作打造的尚界品牌首车,定位家用SUV,长宽高分别为4780/1910/1657(1664)mm,轴距长达2840mm,空间越级。
纯电版提供124升容积的前备箱,支持车外双击开启,而车内后排拥有超过1米的腿部空间,靠背最大支持32度调节,提高长途出行的舒适性。
后备厢常规容积达到601升,可同时装下3个28英寸/1个20英寸行李箱,下方还提供32厘米隐藏式储物空间,容积达到了80升。
除了空间充足,相较于同级竞品,尚界H5最大的杀手锏莫过于智能化,Max版配备华为192线激光雷达、4D毫米波雷达,设有小蓝灯,支持华为ADS辅助驾驶。
至于动力,增程版搭载一台上汽生产的1.5L发动机作为增程器,匹配32.6kWh电池,CLTC纯电续航235公里,综合续航里程1360公里,百公里综合油耗4.44升。
纯电版提供最大功率分别为150千瓦和180千瓦的驱动电机,匹配80度宁德时代电池,CLTC纯电续航里程最高为655km,百公里电耗13.4度。




文章来自互联网,只做分享使用。发布者:,转转请注明出处:https://www.pqqc.com/xinwen/1572.html